![]() ![]() ![]() |
ООО "ПТК "Энергомаш" ул. Университетская, 45/16, г. Славянск, Дон. обл., Украина, 84122 тел: +380(95) 723-52-22, +380(96) 786-81-18 (viber, telegram) E-mail: em@em.dn.ua |
|||||||||||||||||||||||||||||||||||||||||||||||||||||||||||||||||||||||||||||||||||||||||||||
|---|---|---|---|---|---|---|---|---|---|---|---|---|---|---|---|---|---|---|---|---|---|---|---|---|---|---|---|---|---|---|---|---|---|---|---|---|---|---|---|---|---|---|---|---|---|---|---|---|---|---|---|---|---|---|---|---|---|---|---|---|---|---|---|---|---|---|---|---|---|---|---|---|---|---|---|---|---|---|---|---|---|---|---|---|---|---|---|---|---|---|---|---|---|---|
| о компании | контакты | потребности | партнеры | |||||||||||||||||||||||||||||||||||||||||||||||||||||||||||||||||||||||||||||||||||||||||||
| / Разъединители / Привод ПР-90/90, ПР-90/180, ПР-180/90 и ПР-180/180 | ||||||||||||||||||||||||||||||||||||||||||||||||||||||||||||||||||||||||||||||||||||||||||||||
Оборудование для контактной сети железных дорог Трансформаторы тока и напряжения Конденсаторы высоковольтные и низковольтные
|
||||||||||||||||||||||||||||||||||||||||||||||||||||||||||||||||||||||||||||||||||||||||||||||
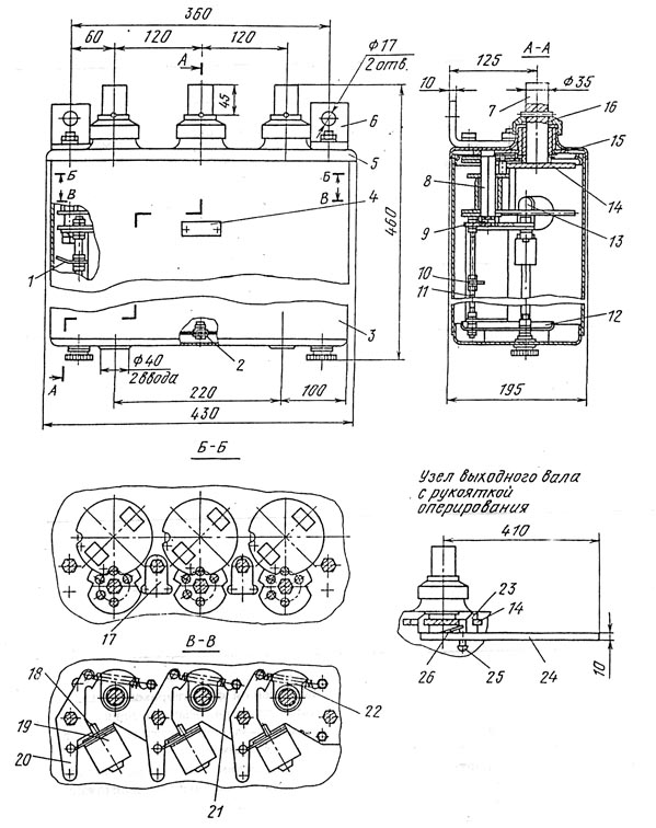
Привод ПР-90/90, ПР-90/180, ПР-180/90 и ПР-180/180 предназначен для оперирования главными и заземляющими ножами разъединителей наружной установки на напряжение 35, 110 кВ. Структура условного обозначения типоисполнений приводов:
Условия эксплуатации: - высота установки над уровнем моря не более 1000 м; Приводы классифицируются по углу поворота главного и заземляющего вала, количеству и расположению валов для ножей заземления. Конструкция: Конструкция привода выполнена в виде двух соединенных между собой панелей (см. рисунок. На панели 15 размещены ступицы с входными валами 7. На втулках 16, расположенных на валах, нанесены надписи с обозначением включенного и отключенного положений валов привода, соответствующих положениях ножей разъединителя. На верхней части панели крепиться крышка 5 с уголками 6. На нижней панели 9 расположены рычаги 20, являющиеся фиксаторами крайних положений валов привода. Рычаги запираются штоками 18 блок-замков 19 типа Б-1 или с помощью висячих замков. Механическая блокировка, предусмотренная на приводе, исключает возможность включения заземляющих ножей при включенном главном ноже разъединителя и наоборот – включение главного ножа разъединителя при включенных ножах заземления. Механическая блокировка осуществляется с помощью рычагов 17. Устройства коммутирующие 10 типа КСА-4 и устройства коммутирующие 11 типа КСА-12 предназначены для сигнализации положения привода. Переключение устройств коммутирующих осуществляется входныс валом через передаточный механизм осью 8. Дно 12 имеет отверстия для кабельных вводов и отверстие с установленным болтом заземления 2. Весь механизм привода закрыт съемным кожухом 3. На лицевой стороне кожуха закреплена табличка 4 с обозначением типоисполнения привода. |
||||||||||||||||||||||||||||||||||||||||||||||||||||||||||||||||||||||||||||||||||||||||||||||
|
||||||||||||||||||||||||||||||||||||||||||||||||||||||||||||||||||||||||||||||||||||||||||||||
Типоисполнение |
Угол поворота главного вала, град. |
Угол поворота заземляющего вала, град. |
Количество и расположение валов для ножей заземления (со стороны оператора) |
ПР-90/90ЛП У1 |
90 |
90 |
Один справа и один слева от главного вала |
ПР-90/180ЛП У1 |
90 |
180 |
|
ПР-180/90ЛП У1 |
180 |
90 |
|
ПР-180/180ЛП У1 |
180 |
180 |
|
ПР-90/90Л У1 |
90 |
90 |
Один слева от главного вала |
ПР-90/180Л У1 |
90 |
180 |
|
ПР-180/90Л У1 |
180 |
90 |
|
ПР-180/180Л У1 |
180 |
180 |
|
ПР-90/90П У1 |
90 |
90 |
Один справа от главного вала |
ПР-90/180П У1 |
90 |
180 |
|
ПР-180/90П У1 |
180 |
90 |
|
ПР-180/180П У1 |
180 |
180 |
|
ПР-90 У1 |
90 |
- |
- |
ПР-10 У1 |
180 |
- |
- |
Типоисполнение
|
Номинальный крутящий момент, Нм
|
Масса, кг.
|
Номинальное напряжение цепи управления блокировки, В
|
Количество коммутирующих контактов для внешних вспомогательных цепей |
|
На главном валу |
На каждом из валов ножей заземления |
||||
ПР-90/90ЛП У1 |
370 +/- 20 |
28 |
-220 |
12 |
4 |
ПР-90/180ЛП У1 |
|||||
ПР-180/90ЛП У1 |
|||||
ПР-180/180ЛП У1 |
|||||
ПР-90/90Л У1 |
370 +/-20 |
22 |
|||
ПР-90/180Л У1 |
|||||
ПР-180/90Л У1 |
|||||
ПР-180/180Л У1 |
|||||
ПР-90/90П У1 |
|||||
ПР-90/180П У1 |
|||||
ПР-180/90П У1 |
|||||
ПР-180/180П У1 |
|||||
ПР-90 У1 |
370 +/-20 |
16 |
- |
||
ПР-10 У1 |
|||||