ООО "ПТК "Энергомаш"

ул. Университетская, 45/16, г. Славянск, Дон. обл., Украина, 84122
тел: +380(95) 723-52-22, +380(96) 786-81-18
(viber, telegram)
E-mail: em@em.dn.ua
  о компании контакты потребности партнеры  
/ Изоляторы / Высоковольтный полимерный ввод ГКПВII-15-110/2000 О1 (ИВЕЮ.686351.035)  

Изоляторы

Линейная арматура для ЛЭП

Арматура для СИП

Оборудование для ЛЭП и СИП

Оборудование для контактной сети железных дорог

Трансформаторы тока и напряжения

Высоковольтное оборудование

Конденсаторы высоковольтные и низковольтные

Кабельные муфты

Предохранители

 

   
 

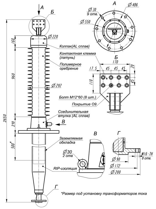
Высоковольтный ввод конденсаторного типа с внутренней RIP и полимерной наружной изоляцией ГКПВII-15-110/2000 О1 (ИВЕЮ.686351.035) предназначен для вывода высокого напряжения из бака высоковольтного выключателя 110 кВ (У-110/2000, ВКП-110, ВМТ-110 и др.). При эксплуатации нижняя часть ввода находится внутри бака высоковольного выключателя в среде трансформаторного масла, а верхняя – на открытом воздухе.

Особенности конструкции ввода:

Внутренняя изоляция типа RIP : низкий уровень ЧР, минимальные габариты;
Наружная полимерная изоляция: повышенные гидрофобные свойства, повышенная стойкость к механическим повреждениям;
Отсутствие масла;
Простота конструкции, монтажа и эксплуатации;
•  Минимальная масса.

Ввод ГКПВII-15-110/2000 О1 (ИВЕЮ.686351.035) взаимозаменяем с выпускавшимися ранее вводами для выключателей с бумажно-масляной, маслобарьерной и твердой изоляцией.

   
 


Высоковольтный ввод ГКПВII-15-110/2000 О1 (ИВЕЮ.686351.035)

Высоковольтный ввод ГКПВII-15-110/2000 О1 (ИВЕЮ.686351.035)

Технические характеристики:

Напряжение наибольшее рабочее 50 Гц

кВ

126

Напряжение наибольшее рабочее фазное

кВ

73

Напряжение испытательное для частичных разрядов (ЧР)

кВ

126

Уровень ЧР

пКл

<=10

Напряжение испытательное 50 Гц, 1 мин.

кВ

230

Напряжение испытательное грозового импульса полной волны 1,2/50мкс

кВ

550

Номинальный ток

А

2000

Максимальный ток, lmax

А

2000

Сечение проводника при lmax

кв. мм.

960

Ток термической стойкости в течение 3с, lth

кА

50

Ток динамической стойкости, ld

кА

125

Разрядное расстояние

мм

965

Длина пути утечки min

мм

2800

Температура окружающей среды

град.

-60  +55

Угол установки

град.

15

Испытательная консольная нагрузка

Н

2500

Размер под установку трансформаторов тока

мм

500

Масса

кг

170

 

Варианты обозначения: Высоковольтный ввод ГКПВ II-15-110/2000 О1 (ИВЕЮ686351.035), ГКПВП-15-110/2000 О1 (ИВЕЮ.686351035), ГКПВ2-15-110/2000 О1 (ИВЕЮ686351035), ГКПВ 2-15-110/2000 О1 (ИВЕЮ.686351-035)

Заказать продукцию

 

   



E-mail: em@em.dn.ua | Тел: +380(95) 723-52-22, +380(96) 786-81-18