ООО "ПТК "Энергомаш"

ул. Университетская, 45/16, г. Славянск, Дон. обл., Украина, 84122
тел: +380(95) 723-52-22, +380(96) 786-81-18
(viber, telegram)
E-mail: em@em.dn.ua
  о компании контакты потребности партнеры  
/Изоляторы для съемных трансформаторных вводов / Изолятор Пр-Вр-У-22  

Изоляторы

Линейная арматура для ЛЭП

Арматура для СИП

Оборудование для ЛЭП и СИП

Оборудование для контактной сети железных дорог

Трансформаторы тока и напряжения

Высоковольтное оборудование

Конденсаторы высоковольтные и низковольтные

Кабельные муфты

Предохранители

 

   
 
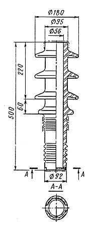
Изолятор проходной неармированный Пр-Вр-У-22 на напряжение 20 кВ предназначен для комплектации силовых трансформаторов.
   
 


Изолятор Пр-Вр-У-22

Изолятор Пр-Вр-У-22

Технические характеристики:

Наименование параметра
Показатель
Номинальное напряжение, кВ
20
Масса, кг.
10,0

Варианты обозначения: Изолятор ПрВр-У-22, Пр-ВрУ-22, Пр-Вр-У22, ПрВр-У22, ПрВрУ-22, ПрВрУ22

Заказать продукцию

   



E-mail: em@em.dn.ua | Тел: +380(95) 723-52-22, +380(96) 786-81-18