ООО "ПТК "Энергомаш"

ул. Университетская, 45/16, г. Славянск, Дон. обл., Украина, 84122
тел: +380(95) 723-52-22, +380(96) 786-81-18
(viber, telegram)
E-mail: em@em.dn.ua
  о компании контакты потребности партнеры  
/Изоляторы фарфоровые опорные / Изолятор 3242 и 3243  

Изоляторы

Линейная арматура для ЛЭП

Арматура для СИП

Оборудование для ЛЭП и СИП

Оборудование для контактной сети железных дорог

Трансформаторы тока и напряжения

Высоковольтное оборудование

Конденсаторы высоковольтные и низковольтные

Кабельные муфты

Предохранители

 

   
 

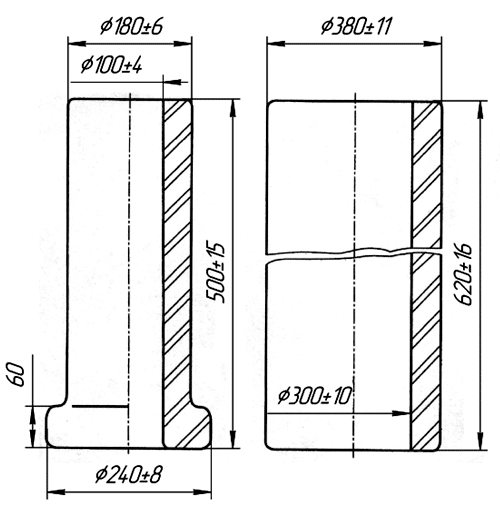
Изоляторы 3242, 3243 предназначены для комплектации электрофильтров. Изоляторы изготовлены из керамической массы подгруппы 110 по ГОСТ 20419-83.

Масса изолятора 3242 - 25 кг. Масса изолятора 3243 - 61 кг.

Изоляторы соответствуют ГОСТ 5862-79.

   
 


Изолятор 3242, 3243

Изолятор 3242, 3243

 

Заказать продукцию


   



E-mail: em@em.dn.ua | Тел: +380(95) 723-52-22, +380(96) 786-81-18